Apple Awarded Patent for Refocusable Camera, a Potential Future iPhone Accessory
The U.S. Patent and Trademark Office today granted Apple a patent for a new camera system that makes possible the ability to refocus a digital image after it’s been shot. Comparatively, it’s quite similar in design and concept to the Lytro light-field camera.
And it’s something we might find in Apple’s next iPhone.
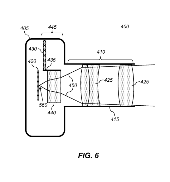
The patent, listed online here, is specifically for a “Digital camera including refocusable imaging mode adaptor,” which would allow a user to snap a picture at a certain resolution, and refocus the image digitally afterward. The patent also notes the inclusion of such technology in portable devices, most feasibly the iPhone.
The further details of the patent describe a plenoptic camera, or a “light-field camera,” that uses a microlens array, much like the popular consumer camera, the Lytro. Unlike the Lytro though, this implementation would use the array as more of an adaptor, rather than an integrated component of a single device. Apple’s patent cites the Lytro as an inspiration of prior art, but believes innovations can be made in quality and resolution.
Most notably, the patent includes a system that can make this technology available as an attachment for an existing camera – meaning a time where screwing one of these suckers to the end of your iPhone might not be too far off. This, if the case, presents a challenging scenario for Lytro, whose camera starts at a base price of $299.
Even worse, it can’t make phone calls, run apps, or post to Facebook.
How Apple plans to implement this technology going forward in their device lineup, if at all, is unclear. It could be introduced as an integrated feature of the next iPhone, but given the patent’s focus on making it more of an attachment, it could have a future as an off-the-shelf accessory for iPhone photographers.
And given the iPhone’s (and most smartphone’s) inconsistent ability to refocus imagery on-the-fly for stills and video, this could prove a popular add-on if the price, and design, are right.
